Wind Vane Steering for yachts was first developed as a practical device for model yacht races in the early thirties. It was not until 1955 that effective vane gears appeared on full size yachts – Ian Major’s Buttercup and Michael Henderson’s Mick the Miller. When Blondie Hasler originated the Observer Single-handed Transatlantic Races it gave a great boost to vane gear development.
Blondie started developing Vane Gears in 1953 and remained leader in this field for a long time afterwards, gaining practical experience including four Atlantic crossings, single-handed in his radical junk rigged Folkboat Jester. Each of these crossings is believed to have set a new record for boats of less than 35 feet overall, culminating in a passage of 33 ½ days from Newport, R.I. to the Solent in July 1964. Out of a total of 12000 miles Jester was steered by hand for less than fifty miles.
The now well known Trim Tab system was the first to be perfected incorporating a differential linkage to eliminate the over-steering tendency of earlier gears. In the first Single-handed Transatlantic Race in 1960, Jester was fitted with a prototype Trim Tab Gear and advanced experiments were carried out, mainly with wind vanes of different sizes.The next milestone in the history of Vane Gears was Hasler’s invention of the Pendulum Servo system in 1961 . For the first time it enabled yachts with counter sterns to be steered effectively in all conditions without needing complicated modifications to the rudder and rudder stock.
Subsequently, the winner of the 1968 Single-handed Transatlantic Race, the 57 foot ketch, Sir Thomas Lipton using a BP1 Hasler Gear, was steered manually for only twelve hours during her record breaking passage between Plymouth, England and Newport. R.I. The next six yachts home were also steered by Hasler Gears with the exception of the Proa, Cheers (3rd) which had no vane gear at all.
Hasler Vane Gears have also been successfully used on a number of very long voyages including the great circumnavigation’s via Cape Horn, made by Bill Nance (Cardinal Vertue), Sir Francis Chichester and Sir Alec Rose.
The first commercially produced Hasler Pendulum Servo Gear was sold in May 1962 and the first Trim Tab Gear in March 1963.By December 1970 over 600 gears had been supplied to yachts all over the world. Sizes range from the yacht (12′) Nonoalca, sailed by Captain Verity from the USA to Ireland, to the 59′ ketch British Steel . Also among the largest is the yacht Islander which has already been sailed single-handed by the owner, Cmdr. Tom Blackwell from England to Australia via Panama.
Most of the wind vane self-steering systems used today are based on the servo pendulum vane gear designed by Blondie Hasler in 1961.
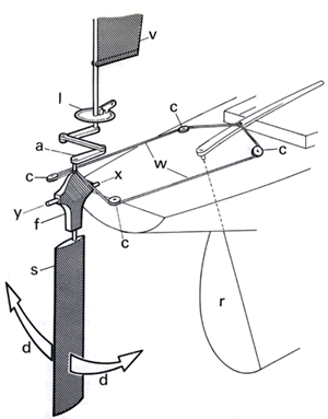
How a Pendulum Servo Gear works

In this particular system a Servo Blade ‘s’ is hung vertically over the stern with its shaft passing through a Servo Frame ‘f ‘ (see drawing on right). It can be turned like a rudder by the Servo Tiller ‘a’.
The Servo Frame also has fore and aft bearings ‘x’ and ‘y’ which allow the whole assembly to swing from side to side like an athwartships pendulum.
Steering ropes ‘w’ are connected to the top of the Servo Frame and lead from it through sheaves ‘c’ to the tiller.
Initially the vane is free to weathercock on its shaft for manual steering. If the vane turns when the latch is engaged, the servo blade also turns. The flow of water past the immersed blade forces it to swing sideways ‘d’ pulling the ropes, tiller and consequently the rudder, bringing the yacht back on course.
How a Trim Tab Gear works

When a Trim Tab Gear is at rest with the Vane ‘V’ unlatched the Tab ‘t’ simply trails in the water flowing aft from the rudder ‘r’ (see drawing on right) without impeding manual steering.
As soon as the Latch ‘L’ is engaged and the tiller left free the vane gear will steer. If for instance the yacht veers off course to port, the vane will be turned in a clock-wise direction by the wind.This movement is connected through to the tab which turns to port. The resulting servo power swings the yacht’s main rudder in the opposite direction bringing the yacht back on course.
A differential linkage between the vane and tab on the Hasler gear overcame the oversteering troubles experienced with some other Trim Tab gears then available on the market.